行業資訊
詳解工程地質勘探方法
工程地質勘探的方法

1、工程地質坑、槽探
坑、槽探是在建筑場地挖探井或探槽以取得直觀資料和原狀土樣,這是一種不使用專用機具的常用勘探方法。當場地地質條件比較復雜時,利用坑探可以直接觀測地層的結構和變化,但坑探可達的深度較淺??犹降姆N類有探槽、探坑和探井。
在工程勘察中,常用的坑、槽探主要有坑、槽、井、洞等幾種類型,見下表。

工程地質勘探中坑、槽、洞的類型

探槽是在挖掘成長條形且兩壁常為傾斜上寬下窄的槽子,其斷面有梯形或階梯型兩種。較深的探槽兩壁要進行必要的支護以策安全。探槽一般在覆蓋土層小于3.0m時使用。它適用于了解地質構造線、斷裂破碎帶寬度、地層分界線、巖脈寬度及其延伸方向和采取原狀土試樣等。
凡挖掘深度不大且形狀不一的坑,或成矩形的較短的探槽狀的坑為探坑。探坑的深度一般為1.0~2.0m,與土層的目的相同。
探井一般深度都大于3.0m,其斷面形狀為方形、矩形和圓形。圓形探井在水平方向能承受較大的側壓力,比其他形狀的探井安全。
坑探中采取原狀土樣可按照以下步驟進行:首先在井底或井壁的指定深度處挖一土柱,土柱的直徑必須大于土筒的直徑,將土柱頂面削平,套上兩端開口的金屬筒并削去筒外多余的土,一面削土一面將筒壓入,直到筒完全套入土柱體后切斷土體柱。然后削去兩端多余的土體,該上筒蓋,用熔蠟密封后貼上標簽并注明土柱的上下方向、編號等即完成取樣工作。

2、鉆探
(1)工程地質鉆探的概念
工程地質鉆探是獲取地表下準確的地質資料的重要的方法,而且通過鉆探的鉆孔采取原狀巖土樣和做現場力學試驗也是工程地質鉆探的任務之一。
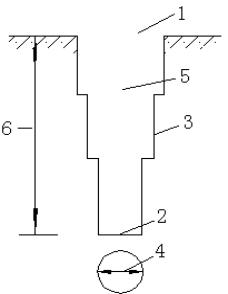
鉆探是指在地表下用鉆頭鉆入地層的勘探方法。在地層內鉆成直徑較小并具有相當深度的圓通形孔眼的孔稱為鉆孔。通常將直徑大于等于800mm以上的鉆孔稱為大直徑鉆井。鉆孔的要素如圖所示。鉆孔上部口徑較大,下部口徑較小,成階梯狀。鉆孔的上部為孔口,底部為孔底;四周側壁為孔壁。鉆孔斷面的直徑為孔經;由大孔經改為小孔經稱換經。從孔口到孔底的距離為孔深。

1-孔口;2-孔底;3-孔壁;4-孔經;5-換經;6-孔深
(2)鉆探過程和鉆進方法
根據自然條件的復雜性以及工程要求選擇鉆探設備和鉆進方法。鉆機一般分為回轉式和沖擊式兩種。回轉式鉆機是利用鉆機的回轉器帶動鉆具旋轉,磨消孔底地層而鉆進,通常使用管狀鉆具,能取柱狀巖芯樣品。沖擊式鉆機則利用卷揚機借鋼絲繩帶動有一定重量的鉆具上下反復沖擊,使鉆頭擊碎孔底地層而形成鉆孔后用抽筒提取巖石碎塊或擾動土樣。針對不同的巖石及地層條件,可選取不同的鉆進方式、鉆機與鉆具。

鉆探過程中有三個基本程序:
破碎巖土:在工程地質鉆探中廣泛采用人力和機械方法,使小部分巖土脫離整體而成為粉末、巖土塊或巖土芯的現象,叫做破碎巖土。巖土的破碎是借助于沖擊力、剪切力、研磨和壓力來實現的。
采取巖土:用沖洗液(或壓縮空氣)將破碎的碎屑沖到孔外,或者用鉆具(抽筒、勺形鉆頭、螺旋鉆頭、取土器、巖芯管等)靠人力或機械將孔底的碎屑或樣芯取出于地面。
保全孔壁:為了順利地進行鉆探工作,必須保護好孔壁,不使其坍塌。一般使用套管和泥漿來護壁。
工程地質鉆探可根據巖土破碎的方式,將鉆進的方法分為以下四種:
沖擊鉆進
沖擊鉆進法采用底部圓環狀鉆頭。鉆進時將鉆具提升到一定高度,利用鉆具自重,迅猛放落,鉆具在下落時產生沖擊動能,沖擊孔底巖土層,使巖土層達到破碎之目的而加深鉆孔。
沖擊-回轉鉆進
沖擊-回轉鉆進綜合了前兩種鉆進方法在地層鉆進中的優點,以達到提高鉆進效率的目的。其工作原理是:在鉆進過程中,鉆頭克取巖石時,施加一定的動力,對巖石產生沖擊作用,使巖石的破碎速度加快,破壞粒度比回轉剪切粒度增大。同時由于沖擊力的作用使硬質合金刻入巖石深度增加,在回轉中將巖石剪切掉。這樣就大大提高了鉆進的效率。
(3)鉆孔地質柱狀圖
鉆孔地質柱狀圖是表示該鉆孔所穿過的地層而綜合成圖表表示(表1-3)。圖中表示有地質年代、土層埋藏深度、土層厚度、土層底部的絕對標高、巖土的描述、柱狀圖、地面絕對標高、地下水水位和測量日期、巖土怎樣選取位置等。柱狀圖的比例尺一般為1:100—1:500。

(4)土試樣的采取
按照取樣方法和試驗目的,巖土工程勘察規范對土試樣的擾動程度分成如下的質量等級:
一級--不擾動,可進行試驗項目有:土類定義、含水量、密度、強度系數、變形參數、固結壓密系數。
二級――輕微擾動,可進行的試驗項目有:土類定義、含水量、密度。
三級――顯著擾動,可進行的試驗項目有:土類定義、含水量。
四級――完全擾動,可進行的試驗項目有:土類定義。
在鉆孔取樣時,采用薄壁取土器所采得的土樣定為一~二級;對于采用中厚壁或厚壁取土器所采得的土樣定為二~三級;對于采用標準貫入器、螺紋鉆頭或巖芯鉆頭所采得的粘性土、粉土、砂土和軟巖的試樣皆定義為三~四級。
從上可見,為取得一級質量的土試樣,普遍采用薄壁取土器來采取,以滿足土工試驗全部的物理力學參數的正確獲得。
減少土試樣擾動的注意事項
為保證土樣少受擾動,采取土試樣的前后及過程中應注意如下事項:
合理的鉆進方法是保證取得不擾動土樣的第一前提。也就是說,鉆進方法的選用首先應著眼于確??椎讛M取土樣不被擾動。這一點幾乎對任何種土樣都適用,而對結構敏感或不穩定的土層尤為重要。從國內外的經驗看,主要有以下幾點要求:
1)在結構性敏感土層和較疏松砂土層中需采用回轉鉆進,而不得采用沖擊鉆進;
2)以泥漿護孔,可以減少擾動。并注意在孔中保持足夠的靜水壓力,防止因孔內水位過低而導致孔底軟粘性土或砂層產生松動或涌起;
3)取土鉆孔的孔徑要適當,取土器與孔壁之間要有一定的距離,避免下放取土器時切削孔壁,擠進過多的廢土。尤其在軟土鉆孔中,時有縮徑現象,則更需加大取土器與孔壁的間隙。鉆孔應保持孔壁垂直,以避免取土器切刮孔壁;
4)取土前的一次鉆進不宜過深,以免下部擬取土樣部位的土層受擾動。并且在正式取土前,把已受一定程度擾動的孔底土柱清理掉,避廢土過多,取土器頂部擠壓土樣;
更多相關信息 還可關注中鐵城際公眾號矩陣 掃一掃下方二維碼即可關注

文章推薦
- “全域土地綜合整治”的5個建設內容和6個整治模式
- 上海:《關于深入開展全市域土地綜合整治 助推郊野空間提質增效的實施意見》解讀
- 陽泉市規劃和自然資源局召開全域土地綜合整治工作專題會
- 工業園區“定制化”供水:中鐵城際智慧水務系統如何匹配高純度用水需求?
- 農村供水“最后一公里”破局:中鐵城際供水智慧系統如何解決分散站點運維難題?
- AI+物聯網:中鐵城際智慧供水系統如何從“被動搶修”轉向“主動防御”?
- 市政道路設計流程與技巧:新手快速上手的6個核心步驟
- 市政道路設計關鍵要點:從線形規劃到管線綜合的避坑指南
- 2025市政道路設計最新規范與全流程解析
- 自然資源部:推進全域土地綜合整治 已經累計整治超1000萬畝




